【アシバツナギ】の選択と施工方法
90 種類に及ぶ【アシバツナギ】を選択、施工する方法をご案内しております
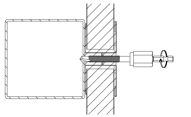
アシバツナギ 金属断熱サンドイッチパネル用
仮設足場接続金具(壁つなぎ 雄ネジW1/2-12 控え金具)
金属断熱サンドイッチパネル用
金属断熱サンドイッチパネル用
◎鉄下地1.6~3.2mmに対応させて開発した高強度を誇る高級ドリルネジを採用しました。
特長
- 金属断熱サンドイッチパネル用の壁つなぎ控え金具。
- 改修のみでなく、新築の物件・施工に最適です。
- 接続ナットは、360度方向に8度傾斜しても自由回転します。
- つまり単純にネジとナットを連結しておりません。
- 壁つなぎに曲げ力がかかった場合、ナットが傾斜するため、ネジの折損を防ぎます。
- さらに安全のため、ネジ部分には折損を防ぐ焼入れを採用しています。
- ネジと接続ナット部分(カーリング)の最大引張強度は、2.000kgfを誇り他に無い技術です。
- 壁つなぎとの接続は、壁つなぎを回転させずに、接続ナット・雄ネジを締め付けて可能です。
- ネジ頭部の四角ビットは、カムアウトしない高トルク伝達設計で穴つぶれがありません。
施工例


施工手順
▼SM8タイプ


▼AWS8タイプ


仕様表
※ナットは360°方向に15°傾斜しても自由回転
※ナットカーリング部 最大引張強度:19,613N(2,000Kgf)
▼SM8タイプ・AWS8タイプ(ボンデッドワッシャー付き)

| 品番 | 適応壁厚 (mm) |
適応下地厚 (mm) |
d(mm)×L(mm) | L1 (mm) |
L2 (mm) |
ケース 入数 |
|---|---|---|---|---|---|---|
| SM8×53 | 25 | 1.6~3.2 | 8.0×53 | 40 | 16 | 400 (50本×8) |
| SM8×63 | 35 | 1.6~3.2 | 8.0×63 | 50 | 16 | 400 (50本×8) |
| SM8×78 | 50 | 1.6~3.2 | 8.0×78 | 65 | 16 | 240 (30本×8) |
| SM8×103 | 75 | 1.6~3.2 | 8.0×103 | 90 | 16 | 240 (30本×8) |
| AWS8×53 | 25 | 1.6~3.2 | 8.0×53 | 40 | 16 | 240 (30本×8) |
| AWS8×63 | 35 | 1.6~3.2 | 8.0×63 | 50 | 16 | 240 (30本×8) |
| AWS8×78 | 50 | 1.6~3.2 | 8.0×78 | 65 | 16 | 240 (30本×8) |
| AWS8×103 | 75 | 1.6~3.2 | 8.0×103 | 90 | 16 | 160 (20本×8) |
※適応壁厚=壁材厚㎜+下地間の隙間㎜
▼専用四角ビット
| 品 名 | 入 数 |
|---|---|
| 専用トルクスビット(T-30X50) | 10×10 |
引張強度表
| 最大引張強度 N(Kgf) t=下地厚(㎜) | |
|---|---|
| 一般構造用軽量形鋼リップ溝形鋼 75×45×15 1.6t | 5,000N(510kgf) |
| 一般構造用角形鋼管 100×100 2.3t | 8,300N(846kgf) |
| 一般構造用軽量形鋼リップ溝形鋼 100×50×20 3.2t | 13,200N(1,346kgf) |
※許容荷重の定めは致しかねます。施工状態の良し悪しで記載した最大引張強度は大きな差が生じますので十分配慮して下さい。
※(社)仮設工業会編の足場工事実務マニュアルに準じて、十分な安全率を考慮して施工を行って下さい。
※推奨工具はコードレススクリュードライバー(18V以上の機種)で毎分1,700回転です。
(インパクトレンチ・インパクトドライバーの使用では最大引張強度の保証は出来ません。)
※付属の専用ビットを必ず使用して下さい。
※施工例の通りSM8タイプはパネルと高ナットに隙間を設けて、AWS8タイプは過分な締め付けは避けて下さい。
※締結下地に直角にねじ込み、壁つなぎも曲げ方向の荷重が掛からない状態で接続して下さい。
※壁つなぎ雄ネジに傷や付着物、錆び等のまま接続しないで下さい。
※下穴を別工具で穴明けしての使用は最大引張強度の保証はできません。
※本品の施工だけで、壁当ジャッキを省くことは出来ません。
※製品は改良の為予告なく変更することがありますのでご了承下さい。

